Arriva l’ULTRON 27mm F2 con innesto X
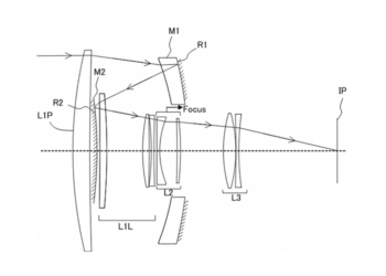
Il Voigtländer ULTRON 27mm F2 con innesto X annunciato al CP+ di febbraio è ora disponibile presso tutti i rivenditori...
Redattore, fotografo, pesci e mancino. Nessuno in particolare.
Viaggio preferibilmente in moto e con poca attrezzatura al seguito. Le foto a cui sono più affezionato le ho realizzate con un 28mm.
Il Voigtländer ULTRON 27mm F2 con innesto X annunciato al CP+ di febbraio è ora disponibile presso tutti i rivenditori...
Gli HD PENTAX-FA 50mm f/1.4 e SMC PENTAX-FA 50mm f/1.4 Classic sono due nuove versioni del normale a elevata luminosità...
La recensione completa della Eos R50, modello d'accesso al sistema mirrorless APS-C di Canon, con sensore CMOS da 24MP e...
Annunciato anche in versione X il Tamron 11-20mm f/2.8 Di III-A RXD, zoom grandangolare del noto Costruttore di ottiche universali.
Svelate le prime immagini e le caratteristiche principali della Canon PowerShot V10, la Vlog camera arriverà con sensore da 1"...
Panasonic ha finalmente reso disponibile la Lumix S5IIX, mirrorless full frame con caratteristiche esclusive soprattutto sul fronte video.
All'X-Summit del 24 maggio Fujifilm dovrebbe annunciare la X-S20, modello entry level dotato di X-Trans CMOS IV da 26MP di...
Il Lensman 2 Exposure è un orologio meccanico con lunetta bidirezionale che ti aiuta a calcolare i valori esposimetrici.
Il prossimo 11 maggio Canon potrebbe svelare una inedita vlog camera con impugnatura verticale e innesto RF montato su un...
I Leica ZM 1 e ZM 2 Monochrom Edition sono due esclusivi segnatempo meccanici ispirati alla Leica M11 Monochrome.
Dal 2004 FOTO Cult offre un'informazione professionale e appassionata su tecnica e cultura della fotografia. Sostienici e alimenta la tua passione.
fotocult.it è membro TIPA dal 2017. Clicca qui per conoscere la storia e la filosofia dell’associazione.
© 2024 copyright Fotocult s.r.l. C.F. e P. IVA n. 11984891009, Capitale sociale € 20.000,00 i.v. | Web design by Arkomedia Web Agency.