In futuro Canon potrebbe annunciare un obiettivo catadiottrico autofocus da 300mm di focale ed elevata luminosità per le sue mirrorless full frame dotate di innesto RF.
Nessun teleobiettivo da 300mm di focale attualmente in commercio va oltre l’apertura massima relativa f/2,8 (è del lontano 1981 il “mostro” da 300mm f/2 firmato Nikon). Ma in Canon sembra si stia tendando di infrangere nuovamente questa barriera con un nuovo obiettivo catadiottrico autofocus. La domanda di brevetto depositata recentemente dal Costruttore riguarda infatti un 300mm con luminosità f/2,3 e schema ottico composto da lenti e specchi (catadiottrico, per l’appunto). Al momento, comunque, non è dato sapere se il progetto prenderà vita né se la luminosità effettiva del teleobiettivo sarà così elevata o se sarà ridotta a più miti consigli.
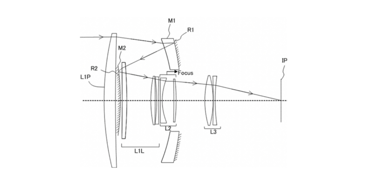
Il testo allegato al disegno tecnico che vedete pubblicato in alto descrive uno schema ottico con sistema di messa a fuoco interno, compatto, leggero e luminoso, la cui configurazione è in grado di correggere sufficientemente la curvatura di campo. Molto interessante, inoltre, è l’accenno al sistema per la messa a fuoco automatica integrato, operazione resa possibile “motorizzando” il gruppo mediano di lenti, siglato L2. Non si tratterebbe, in ogni caso, del primo catadiottrico autofocus, una caratteristica che vantava già il Minolta AF Reflex 500mm f/8 del 1989.

Canon RF 300mm f/2,3: le caratteristiche tecniche del brevetto
Lunghezza focale: 298,89
Apertura massima: f/2,28
Lunghezza: 177,20mm
Partendo da questi numeri (data quindi la lunghezza teorica dal Costruttore di 177,20mm) e procedendo con il calcolo del termine incognito di una proporzione, ci siamo “lanciati” nella stima del diametro dell’ottica, che potrebbe risultare grossomodo di 15cm considerando gli ingombri del barilotto. A conti fatti, confrontando lunghezza e diametro del 300mm f/2,3 con il pari focale EF 300mm f/2,8, il catadiottrico risulterebbe più corto di circa 4cm e con un diametro maggiore di appena 3cm (giustificati dai 2/3EV di luminosità in più offerti rispetto al modello per reflex). Siamo ragionevolmente certi, invece, che un tele a specchi con tali caratteristiche sarebbe decisamente più leggero dell’omologo a lenti.

Lo smartphone che diventa una vera mirrorless? Al MWC26 c’era il concept di Tecno
Il marchio cinese Tecno ha rubato la scena al MWC26 grazie al suo concept di smartphone modulare. Uno dei moduli ...

DJI Osmo Mobile 7 a 67 euro è un affare per chi vuole riprese migliori con lo smartphone
Il prezzo del DJI Osmo Mobile 7 scende ancora e ora mette il gimbal davvero alla portata di tutti. C'è ...

Motorola torna a puntare molto sulla fotografia: ecco il Razr Fold e l’Edge 70 Fusion
Le ultime novità di Motorola mostrano una strategia precisa: i sensori Sony Lytia sono il fulcro attorno cui ruota il ...

Lexar SL500: l’SSD magnetico e compatto per i creator affezionati allo smartphone
Il Lexar SL500 si aggancia allo smartphone sfruttando il magnete per la ricarica senza ulteriori accessori. I prezzi partono da ...

La rete che non si inceppa: il network slicing 5G al servizio della fotografia professionale
In collaborazione con Ericsson e Vodafone, Sony ha mostrato al MWC26 una soluzione che permette un trasferimento di immagini super ...



















